Grille & Components for 2010 Lincoln MKZ
Vehicle
2010 Lincoln MKZ
Change Vehicle
Categories
- Bumper & Components - Front
- Bumper & Components - Rear
- Cluster & Switches
- Console
- Cowl
- Door & Components
- Doors
- Ducts
- Exterior Trim - Fender
- Exterior Trim - Front Door
- Exterior Trim - Quarter Panel
- Exterior Trim - Rear Door
- Exterior Trim - Roof
- Exterior Trim - Trunk
- Fender & Components
- Floor
- Front Console
- Front Door
- Front Seat Components
- Glass - Front Door
- Glass - Rear Door
- Glass - Windshield
- Glass & Hardware - Back
- Glove Box
- Grille & Components
- Hood & Components
- Inner Structure
- Instrument Panel
- Interior Trim - Front Door
- Interior Trim - Pillars
- Interior Trim - Quarter Panels
- Interior Trim - Rear Body
- Interior Trim - Rear Door
- Interior Trim - Roof
- Interior Trim - Trunk
- Labels
- Lid & Components
- Lock & Hardware
- Master Cylinder - Components On Dash Panel
- Outside Mirrors
- Overhead Console
- Quarter Panel & Components
- Radiator Support
- Radio
- Rear Body
- Rear Door
- Rear Floor & Rails
- Rear Seat Components
- Roof & Components
- Seat Belt
- Structural Components & Rails
- Sunroof
- Switches, Solenoids & Actuators
- Tracks & Components
- Trunk
- Uniside
- Wiper & Washer Components
- ABS Components
- Air Bag Components
- Alarm System
- Alternator
- Alternator/Generator & Related Components
- Antenna & Radio
- Anti-Theft Components
- Backup Lamps
- Battery
- Battery & Related Components
- Bulbs - Chassis
- Electrical Components
- Flasher Units, Fuses, & Circuit Breakers
- Fog Lamps
- Front Door
- Front Seat Belts
- Fuse & Relay
- Glass, Windows & Related Components
- Headlamp Components
- Heated Seats
- High Mount Lamps
- Horn
- Ignition Lock
- Ignition System
- Instruments & Gauges
- Keyless Entry Components
- Lane Departure Warning
- License Lamps
- Lighting - Exterior
- Mirrors
- Navigation System
- Navigation System Components
- Parking Aid
- Power Seats
- Powertrain Control
- Rear Door
- Rear Seat Belts
- Relays
- Senders
- Sensors
- Starter
- Starter & Related Components
- Sunroof
- Switches
- Switches, Solenoids & Actuators
- Tail Lamps
- Tire Pressure Monitor Components
- Traction Control Components
- Trunk
- Wipers
- A/C Condenser & Evaporator
- A/C Flow Restrictors
- Automatic Temperature Controls
- Blower Motor & Fan
- Condenser, Compressor & Lines
- Control Modules
- Controls
- Evaporator Components
- Filters
- Heater
- Hoses & Pipes
- HVAC Case
- Motors, Core, Case & Related Components
- Relays
- Sensors
- Switches & Sensors
- Switches, Solenoids & Actuators
- Bumper & Components - Front
- Bumper & Components - Rear
- Cluster & Switches
- Console
- Cowl
- Door & Components
- Doors
- Ducts
- Exterior Trim - Fender
- Exterior Trim - Front Door
- Exterior Trim - Quarter Panel
- Exterior Trim - Rear Door
- Exterior Trim - Roof
- Exterior Trim - Trunk
- Fender & Components
- Floor
- Front Console
- Front Door
- Front Seat Components
- Glass - Front Door
- Glass - Rear Door
- Glass - Windshield
- Glass & Hardware - Back
- Glove Box
- Grille & Components
- Hood & Components
- Inner Structure
- Instrument Panel
- Interior Trim - Front Door
- Interior Trim - Pillars
- Interior Trim - Quarter Panels
- Interior Trim - Rear Body
- Interior Trim - Rear Door
- Interior Trim - Roof
- Interior Trim - Trunk
- Labels
- Lid & Components
- Lock & Hardware
- Master Cylinder - Components On Dash Panel
- Outside Mirrors
- Overhead Console
- Quarter Panel & Components
- Radiator Support
- Radio
- Rear Body
- Rear Door
- Rear Floor & Rails
- Rear Seat Components
- Roof & Components
- Seat Belt
- Structural Components & Rails
- Sunroof
- Switches, Solenoids & Actuators
- Tracks & Components
- Trunk
- Uniside
- Wiper & Washer Components
- ABS Components
- Air Bag Components
- Alarm System
- Alternator
- Alternator/Generator & Related Components
- Antenna & Radio
- Anti-Theft Components
- Backup Lamps
- Battery
- Battery & Related Components
- Bulbs - Chassis
- Electrical Components
- Flasher Units, Fuses, & Circuit Breakers
- Fog Lamps
- Front Door
- Front Seat Belts
- Fuse & Relay
- Glass, Windows & Related Components
- Headlamp Components
- Heated Seats
- High Mount Lamps
- Horn
- Ignition Lock
- Ignition System
- Instruments & Gauges
- Keyless Entry Components
- Lane Departure Warning
- License Lamps
- Lighting - Exterior
- Mirrors
- Navigation System
- Navigation System Components
- Parking Aid
- Power Seats
- Powertrain Control
- Rear Door
- Rear Seat Belts
- Relays
- Senders
- Sensors
- Starter
- Starter & Related Components
- Sunroof
- Switches
- Switches, Solenoids & Actuators
- Tail Lamps
- Tire Pressure Monitor Components
- Traction Control Components
- Trunk
- Wipers
- A/C Condenser & Evaporator
- A/C Flow Restrictors
- Automatic Temperature Controls
- Blower Motor & Fan
- Condenser, Compressor & Lines
- Control Modules
- Controls
- Evaporator Components
- Filters
- Heater
- Hoses & Pipes
- HVAC Case
- Motors, Core, Case & Related Components
- Relays
- Sensors
- Switches & Sensors
- Switches, Solenoids & Actuators
Browse Categories
Select category
- Bumper & Components - Front
- Bumper & Components - Rear
- Cluster & Switches
- Console
- Cowl
- Door & Components
- Doors
- Ducts
- Exterior Trim - Fender
- Exterior Trim - Front Door
- Exterior Trim - Quarter Panel
- Exterior Trim - Rear Door
- Exterior Trim - Roof
- Exterior Trim - Trunk
- Fender & Components
- Floor
- Front Console
- Front Door
- Front Seat Components
- Glass - Front Door
- Glass - Rear Door
- Glass - Windshield
- Glass & Hardware - Back
- Glove Box
- Grille & Components
- Hood & Components
- Inner Structure
- Instrument Panel
- Interior Trim - Front Door
- Interior Trim - Pillars
- Interior Trim - Quarter Panels
- Interior Trim - Rear Body
- Interior Trim - Rear Door
- Interior Trim - Roof
- Interior Trim - Trunk
- Labels
- Lid & Components
- Lock & Hardware
- Master Cylinder - Components On Dash Panel
- Outside Mirrors
- Overhead Console
- Quarter Panel & Components
- Radiator Support
- Radio
- Rear Body
- Rear Door
- Rear Floor & Rails
- Rear Seat Components
- Roof & Components
- Seat Belt
- Structural Components & Rails
- Sunroof
- Switches, Solenoids & Actuators
- Tracks & Components
- Trunk
- Uniside
- Wiper & Washer Components
- ABS Components
- Air Bag Components
- Alarm System
- Alternator
- Alternator/Generator & Related Components
- Antenna & Radio
- Anti-Theft Components
- Backup Lamps
- Battery
- Battery & Related Components
- Bulbs - Chassis
- Electrical Components
- Flasher Units, Fuses, & Circuit Breakers
- Fog Lamps
- Front Door
- Front Seat Belts
- Fuse & Relay
- Glass, Windows & Related Components
- Headlamp Components
- Heated Seats
- High Mount Lamps
- Horn
- Ignition Lock
- Ignition System
- Instruments & Gauges
- Keyless Entry Components
- Lane Departure Warning
- License Lamps
- Lighting - Exterior
- Mirrors
- Navigation System
- Navigation System Components
- Parking Aid
- Power Seats
- Powertrain Control
- Rear Door
- Rear Seat Belts
- Relays
- Senders
- Sensors
- Starter
- Starter & Related Components
- Sunroof
- Switches
- Switches, Solenoids & Actuators
- Tail Lamps
- Tire Pressure Monitor Components
- Traction Control Components
- Trunk
- Wipers
- A/C Condenser & Evaporator
- A/C Flow Restrictors
- Automatic Temperature Controls
- Blower Motor & Fan
- Condenser, Compressor & Lines
- Control Modules
- Controls
- Evaporator Components
- Filters
- Heater
- Hoses & Pipes
- HVAC Case
- Motors, Core, Case & Related Components
- Relays
- Sensors
- Switches & Sensors
- Switches, Solenoids & Actuators
- Bumper & Components - Front
- Bumper & Components - Rear
- Cluster & Switches
- Console
- Cowl
- Door & Components
- Doors
- Ducts
- Exterior Trim - Fender
- Exterior Trim - Front Door
- Exterior Trim - Quarter Panel
- Exterior Trim - Rear Door
- Exterior Trim - Roof
- Exterior Trim - Trunk
- Fender & Components
- Floor
- Front Console
- Front Door
- Front Seat Components
- Glass - Front Door
- Glass - Rear Door
- Glass - Windshield
- Glass & Hardware - Back
- Glove Box
- Grille & Components
- Hood & Components
- Inner Structure
- Instrument Panel
- Interior Trim - Front Door
- Interior Trim - Pillars
- Interior Trim - Quarter Panels
- Interior Trim - Rear Body
- Interior Trim - Rear Door
- Interior Trim - Roof
- Interior Trim - Trunk
- Labels
- Lid & Components
- Lock & Hardware
- Master Cylinder - Components On Dash Panel
- Outside Mirrors
- Overhead Console
- Quarter Panel & Components
- Radiator Support
- Radio
- Rear Body
- Rear Door
- Rear Floor & Rails
- Rear Seat Components
- Roof & Components
- Seat Belt
- Structural Components & Rails
- Sunroof
- Switches, Solenoids & Actuators
- Tracks & Components
- Trunk
- Uniside
- Wiper & Washer Components
- ABS Components
- Air Bag Components
- Alarm System
- Alternator
- Alternator/Generator & Related Components
- Antenna & Radio
- Anti-Theft Components
- Backup Lamps
- Battery
- Battery & Related Components
- Bulbs - Chassis
- Electrical Components
- Flasher Units, Fuses, & Circuit Breakers
- Fog Lamps
- Front Door
- Front Seat Belts
- Fuse & Relay
- Glass, Windows & Related Components
- Headlamp Components
- Heated Seats
- High Mount Lamps
- Horn
- Ignition Lock
- Ignition System
- Instruments & Gauges
- Keyless Entry Components
- Lane Departure Warning
- License Lamps
- Lighting - Exterior
- Mirrors
- Navigation System
- Navigation System Components
- Parking Aid
- Power Seats
- Powertrain Control
- Rear Door
- Rear Seat Belts
- Relays
- Senders
- Sensors
- Starter
- Starter & Related Components
- Sunroof
- Switches
- Switches, Solenoids & Actuators
- Tail Lamps
- Tire Pressure Monitor Components
- Traction Control Components
- Trunk
- Wipers
- A/C Condenser & Evaporator
- A/C Flow Restrictors
- Automatic Temperature Controls
- Blower Motor & Fan
- Condenser, Compressor & Lines
- Control Modules
- Controls
- Evaporator Components
- Filters
- Heater
- Hoses & Pipes
- HVAC Case
- Motors, Core, Case & Related Components
- Relays
- Sensors
- Switches & Sensors
- Switches, Solenoids & Actuators
No.
Part # / Description / Price
Price
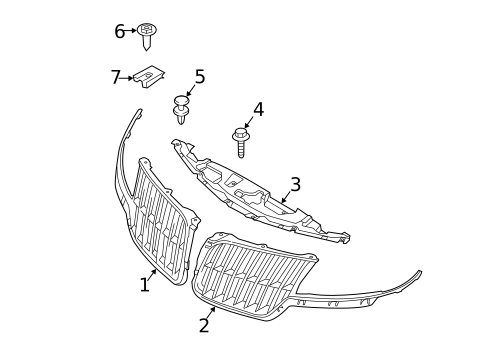
1
Grille
Ford
Ford Positions: Right
Notes: PARTS: Order by application.
Description: Without appearance group.
MSRP $482.52 CAD
$347.41 CAD
MSRP $482.52 CAD
$347.41 CAD
1
Grille
Ford
Ford Positions: Right
Notes: PARTS: Order by application.
Description: With appearance group.
2
Grille
Ford
Ford Positions: Left
Notes: PARTS: Order by application.
Description: Without appearance group.
MSRP $491.85 CAD
$354.13 CAD
MSRP $491.85 CAD
$354.13 CAD
2
4
MSRP $5.48 CAD
$4.38 CAD
5
MSRP $2.19 CAD
$1.75 CAD
6
Tail Lamp Assembly Screw
Ford
Ford Positions: Left
Description: Quarter panel mounted. 2006-10, no. 2. 2006-09. 2010-12.
MSRP $5.48 CAD
$4.38 CAD
MSRP $5.48 CAD
$4.38 CAD
7
MSRP $3.70 CAD
$2.96 CAD